Vai al contenuto
Home » Emissioni

Emissioni

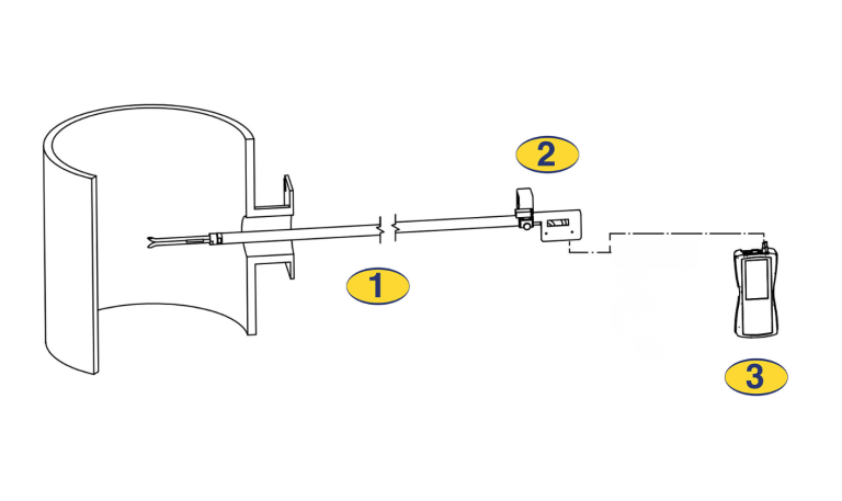
Determinazione della velocità

UNI EN 15259 – Qualità dell’aria
Qualità dell’aria – Misurazione di emissioni da sorgente fissa – Requisiti delle sezioni e dei siti di misurazione e dell’obiettivo, del piano e del rapporto di misurazione

UNI EN ISO 16911 -1 – Emissioni da sorgente fissa
Emissioni da sorgente fissa – Determinazione manuale ed automatica della velocità e della portata di flussi in condotti. Parte 1: Metodo di riferimento manuale

LEGENDA:
1. Tubo di Darcy
2. Swirl
3. LOTUS

Determinazione della condensa in condotto

UNI EN 14790 – Emissioni da sorgente fissa
Determinazione del vapore acqueo in condotti

LEGENDA:
1. FIREFLY con tubo riscaldato
2. ARTIK XP o ARTIK LT 
3. Raccogli condensa in vetro
4. Assorbitore in PVC per gel di silice
5. LIFE ONE

Campionamento polveri in condotti privi o con poca umidità

UNI EN 13284-1 – Emissioni da sorgente fissa
Determinazione della concentrazione in massa di polveri in basse concentrazioni
Parte 1: Metodo manuale gravimetrico

LEGENDA:

1. SONDA STANDARD completa di tubo di Darcy, dispositivo di scorrimento, tubo di prelievo, portafiltro Ø 47 mm e ugelli
2. Contenitore termico ARTIK LT o ARTIK XP
3. Condensatore in vetro
4. Assorbitore in PVC per gel di silice
5. Campionatore ASTER
6. Elaboratore portata LOTUS

Campionamento polveri in condotti con presenza di umidità

UNI EN 13284-1 – Emissioni da sorgente fissa
Determinazione della concentrazione in massa di polveri in basse concentrazioni
Parte 1: Metodo manuale gravimetrico

LEGENDA:

1. Sonda riscaldata X1-PROBE completa di dispositivo di scorrimento, tubo di Darcy, tubo di prelievo, ugelli e portafiltro Ø 47 mm (interno al box riscaldato)
2. Analizzatore E1-ANALYZER
3. Contenitore termico ARTIK LT o ARTIK XP
4. Condensatore in vetro
5. Assorbitore in PVC per gel di silice
6. Campionatore ASTER
7. Elaboratore portata LOTUS

Determinazione dei metalli in condotto

UNI EN 14385:2004 – Emissioni da sorgente fissa
Determinazione dell’emissione totale

LEGENDA:

1. Sonda riscaldata X1-PROBE completa di dispositivo di scorrimentotubo di Darcy, tubo di prelievo e ugelli in titanio, portafiltro Ø 47 mm (interno al box riscaldato)
2. Gorgogliatori Greenburg Smith e vasca porta gorgogliatori
3. Analizzatore E1-ANALYZER
4. ARTIK XP con collegamenti alla vasca (in/out)
5.Barilotto in PVC per gel di silice
6.Campionatore isocinetico automatico APIS PLUS

Determinazione dei microinquinanti in condotto

UNI EN 1948-1 – Emissioni da sorgente fissa
Determinazione della concentrazione in massa di PCDD/PCDF e PCB diossina simili
Parte 1: Campionamento di PCDD/ PCDF

LEGENDA:

1. Sonda riscaldata X1-PROBE completa di dispositivo di scorrimentotubo di Darcy, tubo di prelievo e ugelli in titanio, portafiltro Ø 47 mm (interno al box riscaldato)
2. Analizzatore E1-ANALYZER
3. Contenitore termico automatico ARTIK XP con collegamenti alla vasca (in/out)
4. X1-CODENSER completo di bottiglia per raccolta condensa, scambiatore di calore e porta cartuccia PUF/resina XAD2
5. Assorbitore in PVC per gel di silice
6. Campionatore isocinetico automatico APIS PLUS

Determinazione dei SOV in condotti privi di umidità

UNI CEN/TS 13649 – Emissioni da sorgente fissa
Determinazione della concentrazione in massa di singoli composti organici in forma gassosa
Metodo per adsorbimento seguito da estrazione con solventi o desorbimento termico.

LEGENDA:

1. Sonda gas FIREFLY
2. Fiala adsorbente
3. Assorbitore in PVC per gel di silice
4. Campionatore LIFE GAS

Determinazione dei SOV in condotti con presenza di umidità

UNI CEN/TS 13649 – Emissioni da sorgente fissa
Determinazione della concentrazione in massa di singoli composti organici in forma gassosa
Metodo per adsorbimento seguito da estrazione con solventi o desorbimento termico

LEGENDA:

1. Sonda gas FIREFLY
2. Fiala adsorbente
3. Campionatore/Diluitore LIFE DUO DIL

Determinazione degli acidi in condotto

Decreto Ministeriale del 25 agosto 2000 allegato II
Aggiornamento dei metodi di campionamento, analisi e valutazione degli inquinanti, ai sensi del decreto del Presidente della Repubblica 24 maggio 1988, n. 203

LEGENDA:

1. Sonda gas FIREFLY
2. Contenitore termico ARTIK LT
3. Gorgogliatori in vetro
4. Assorbitore in PVC per gel di silice
5. Campionatore LIFE ONE

Analisi dei processi della combustione in condotti

UNI EN 14789 – Emissioni da sorgente fissa
Determinazione della concentrazione volumetrica di ossigeno
Metodo di riferimento normalizzato: paramagnetismo

UNI EN 15058 – Emissioni da sorgente fissa
Determinazione della concentrazione massica di monossido di carbonio
Metodo di riferimento normalizzato: spettrometria ad infrarossi non dispersiva

UNI EN 14792 – Emissioni da sorgente fissa
Determinazione della concentrazione massica di ossidi di azoto
Metodo di riferimento normalizzato: chemiluminescenza

LEGENDA:

1. Sonda gas FIREFLY con tubo riscaldato
2. Condensatore ARTIK AIR
3. Campionatore LIFE ONE