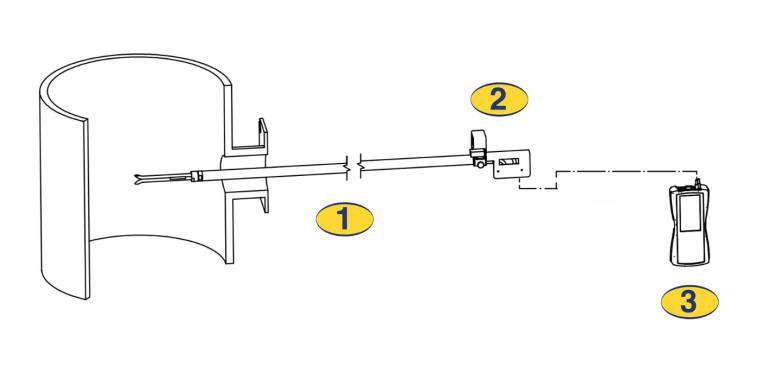
Speed determination
UNI EN 15259:2008 – Air quality
Air quality – Stationary source emissions measuring- Requirements for measuring sections and sites and for the objective, plan and measurement report
UNI EN ISO 16911 -1:2013 – Stationary source emissions
Stationary source emissions – Manual and automatic determination of speed and flow
Manual and automatic determination of the speed and flow rate of flows in ducts.
LEGENDA:
1. Darcy tube
2. Swirl
3. LOTUS or ISOCHECK SRB
Determination of condensation in ducts
UNI EN 14790:2006 – Stationary source emissions
Determination of water vapor in duct
LEGEND:
1. FIREFLY with heated tube
2. ARTIK LT
3. Glass condensate collector
4. PVC absorber for Silica gel
5. LIFE ONE
Dust sampling in ducts with low humidity or without
UNI EN 13284-1:2017 – Stationary source emissions
Determination of mass concentration of dusts in low concentration
Part 1: Gravimetric reference method
LEGEND:
1. STANDARD PROBE complete with Darcy tube, sampling tube, filter holder Ø 47 mm and nozzles
2. Thermic container ARTIK LT
3. Glass condensate collector
4. PVC absorber for Silica gel
5. Isokinetic sampler ASTER
6. Automatic processor LOTUS
Dusts sampling in ducts with humidity
UNI EN 13284-1:2017 – Stationary source emissions
Determination of mass concentration of dusts in low concentration
Part 1: Gravimetric reference method
LEGEND:
1. X1 HEATED PROBE complete with slider, Darcy tube, sampling tube and titanium nozzles, filter holder Ø 47 mm (inside the heated box)
2. E1-ANALYZER
3. Automatic chiller ARTIK LT
4. Glass condensate collector
5. Isokinetic sampler ASTER
6. Automatic processor LOTUS
Determination of metals in ducts
UNI EN 14385:2004- Stationary source emissions
Determination of total emission
LEGEND:
1. X1 HEATED PROBE complete with slider, Darcy tube, sampling tube and Titanium nozzles, filter holder Ø 47 mm (inside the heated box)
2. Greenburg Smith bubblers and bubblers holder tank
3. Automatic isokinetic sampler APIS PLUS
4. PVC container for Silica gel
5. ARTIK XP with with connections with the tank (in/out)
6. E1-ANALYZER
Determination of micropollutants in ducts
UNI EN 1948-1:2006 – Stationary source emissions
Determination of the mass concentration of PCDDs/PCDFs and dioxin-like PCBs
Part 1: Sampling of PCDDs/ PCDFs
LEGEND:
1. X1 HEATED PROBE complete with slider, Darcy tube, sampling tube and Titanium nozzles, filter holder Ø 47 mm (inside the heated box)
2. X1-CONDENSER complete of bottle for condensate collection, heat exchanger and PUF/resin glass cartridge XAD2
3. Automatic isokinetic sampler APIS PLUS
4. PVC container for Silica gel
5. Automatic chiller ARTIK XP with connections with the tank (in/out)
6. E1-ANALYZER
SOV determination in ducts without humidity
UNI CEN/TS 13649:2015 – Stationary source emissions
Determination of mass concentration of individual organic compounds in gaseous form
Method by adsorption followed by solvent extraction or thermal desorption
LEGEND:
1. FIREFLY gas probe
2. Adsorbent vial
3. PVC absorber for Silica gel
4. LIFE GAS
SOV determination in ducts with humidity
UNI CEN/TS 13649:2015 – Stationary source emissions
Determination of mass concentration of individual organic compounds in gaseous form
Method by adsorption followed by solvent extraction or thermal desorption
LEGEND:
1. FIREFLY gas probe
2. Adsorbent vial
3. LIFE DUO DIL
Determination of acids in duct
UNI CEN/TS 13649:2015 – Stationary source emissions
Determination of mass concentration of individual organic compounds in gaseous form
Method by adsorption followed by solvent extraction or thermal desorption
LEGEND:
1. FIREFLY gas probe
2. Thermic container ARTIK LT
3. Glass bubblers
4. PVC absorber for Silica gel
5. LIFE ONE
Analysis of combustion processes in ducts
UNI EN 14789:2017- Stationary source emissions
Determination of the volumetric concentration of Oxygen
Normalized reference method: paramagnetism
UNI EN 15058:2017 – Stationary source emissions
Determination of mass concentration of carbon monoxide
Normalized reference method: non-dispersive infrared spectrometry
UNI EN 14792:2017 – Stationary source emissions
Determination of mass concentration of nitrogen oxides
Normalized reference method: chemiluminescence
LEGEND:
1. THYRIS analyzer
2. Automatic chiller ARTIK XP complete with condenser support
3. Glass condensate collector
4. FIREFLY gas probe
5. Heated teflon tube